液面计

  • 服务名称: 液面计
  • 服务分类: 搪玻璃部件
  • 公司名称: beat·365(中国)-官方网站
  • 添加时间: 20/03/02
  • 点击次数:  
  • 二 维 码:

    手机浏览

    更方便

产品详情

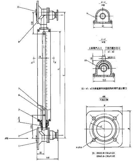
搪玻璃液面计:

搪玻璃液面计是用来观察搪玻璃设备内部液面位置的装置。计分为D型和W型两种,D型用于在常温下流动性较好的介质,W型用于在常温下不易流动的介质。本产品具有透光距离长,联接简单,密封可靠,流体通道面积大,不易堵塞等优点。


以上是关于液面计厂家,液面计价格的详细介绍
地区产品: 山东液面计河北液面计广东液面计河南液面计江苏液面计安徽液面计浙江液面计辽宁液面计黑龙江液面计湖南液面计
点击次数:   更新时间:20/03/02 14:34:03   【打印此页】   【关闭
联系我们
beat365中国官方网站

销售部:0533-2889567   13969380660  13287013119

维修部:13864665433    0533-2889567

传  真:0533-2889567 邮  编:255000
邮  箱:zbzhuding@163.com
网  址:https://www.busymom365.com
地址:淄博市张店区柳泉路13号